| 2. Á¶¸íÁ¦¾î¹Ý(LAP/TU) |
|
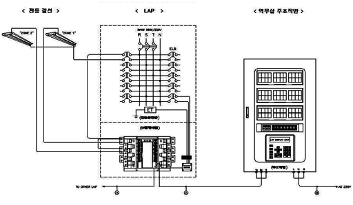
Àüü°á¼±µµ |
 |
|
¼¼ºÎ»çÇ× |
- 2-1.Á¶¸íÁ¦¾î ¸±·¹ÀÌ ( RR9P )
- LAMP ºÎÇÏ AC 277V, 20AMP (ÃÖ´ë)
- AC 24V Àü¿øÀÌ Àΰ¡µÇ¾î ÀÛµ¿µÇ´Â ·¡Äª ŸÀÔ.
- RELAY COILÀº µ¿ÀÛ°¡´É½Ã°£ÀÌ °è¼Ó À¯ÁöµÈ´Ù. ( ON »óųª OFF·Î À¯Áö )
- 2-2.Á¶¸íÁ¦¾î Àü¿øÀåÄ¡ ( RPWR220 )
- 220V/24V DOWN TRANS
- 40VA ¿ë·®À¸·Î °¢°¢ ¸±·¹ÀÌ ±¸µ¿Àü¿ø°ú CONTROLCARD Àü¿øÀ¸·Î »ç¿ëµÈ´Ù.
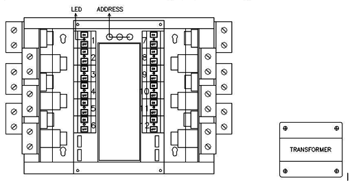
- 2-3.Á¶¸íÁ¦¾î CONTROL UNIT (LAP ³»ºÎ¿¡ ½ÇÀå)
- 1 ~ 99±îÁö »ç¿ë ÇÒ ¼ö ÀÖ´Â ADDRESS°¡ ÀÖ¾î ÁÖÁ¶À۹ݿ¡¼ ÀνÄÇÑ´Ù.
- RELAY±¸µ¿Ä«µå¸¦ 1~4±îÁö »ç¿ëÇÒ¼ö ÀÖ°í, PANEL GROUP SWITCH´ÜÀÚ¸¦ ÃÖ´ë 14°³±îÁö »ç¿ë ÇÒ ¼ö ÀÖ´Ù.
- 2-4.Á¶¸íÁ¦¾î RELAY ±¸µ¿UNIT (LAP ³»ºÎ¿¡ ½ÇÀå)
- 6°³ÀÇ RELAY¿Í PANEL GROUP SWITCH 3°³¸¦ µ¿ÀÛÇϰųª »óŸ¦ °¨½Ã
- 2-5.Á¶¸íÁ¦¾î SWITCH (PCB¿¡ ÃëºÎ)
- SWITCH´Â 2°³ÀÇ ¹öư½Ä ON/OFF ±¸Á¶·Î µÇ¾î ÀÖ´Ù.
- LED LAMP´Â ONµÉ ¶§ RED, OFFµÉ¶§ GREEN LAMP°¡ ÄÑÁø´Ù.
|
|
|